Testimonials

What People Are Saying

Trusted by leaders across healthcare, technology, enterprise software, and beyond.

Your quick impact and ability to constructively challenge our thinking has been invaluable. The detailed feedback and strategic insights are helping us navigate complex challenges and get to the best answers for our AI i...

Senior Executive

Product & Engineering Leadership

Enterprise B2B SaaS

Alyssa's market research and strategic guidance were instrumental in shaping our product roadmap. Her ability to translate complex healthcare data challenges into actionable insights helped us navigate a highly regulated...

Jason Prestinario

CEO

Particle Health

Keith brought exceptional technical leadership during a critical infrastructure transformation. His ability to optimize performance while managing complex migrations kept our platform running smoothly for our users.

Mohit Kadahari

Co-founder

Sprect

Working with Alyssa on brand building and the 0-to-1 transition was transformative. Her strategic vision and deep understanding of healthcare technology helped us position Davis Core Advisory for success from day one.

Lisa Davis

Founder & CEO, Former CIO Blue Shield

Davis Core Advisory

During our COVID response and digital transformation initiatives, Alyssa's leadership in customer experience was invaluable. She brought clarity to complex challenges and helped us deliver meaningful results for our memb...

Christine McKinney

VP Customer Experience

Blue Shield of California

I've been using Coach Koala - loving it :-) We had a really good conversation about retail investors vs. funds and prioritization. We discussed pricing and positioning — it was very useful. 'To be brutally honest' It rem...

Shadi Copty

Founder | AI advisor | Ex-Dir of Llama @Meta & Ex-VP of Watson @IBM

Fortusight

The AI demo was truly impressive — showing how AI can revolutionize marketing workflows. A game-changer for the industry.

Marketing Executive

Enterprise Client

Fortune 500 Company

Alyssa helped me bring my vision to life—from brand creation to setting up my Etsy shop. Her guidance on positioning and storytelling transformed my handmade jewelry business into a cohesive brand that resonates with cus...

Sumeet Bakshi

Founder

Sumeet by Hand
Case Studies

Selected Work

Examples pulled from the existing RealWorldAI.Work case studies archive, simplified into a straightforward grid with no filters or extra navigation complexity.

From Concept to Product Launch: Designing Pricefx Agents
Multiple

From Concept to Product Launch: Designing Pricefx Agents

How RealWorldAI.Work designed an AI pricing agent framework that launched 125 agents, signed 26 deals in six months, and became a pricing platform company's central commercial strategy.

AI AgentsProduct StrategyEnterprise Pricing
Read case study
Navigating Ambiguity to Launch an Enterprise AI Copilot
Multiple

Navigating Ambiguity to Launch an Enterprise AI Copilot

How we guided an Enterprise B2B SaaS company through the challenges of developing and launching an AI Copilot, addressing architectural weaknesses, organizational misalignments, and unclear product direction to establish a foundation for future AI-driven innovation.

AI CopilotProduct StrategyTechnical Architecture
Read case study
Transforming Infrastructure and Performance for a Growing Marketplace
Pillar B

Transforming Infrastructure and Performance for a Growing Marketplace

How we modernized a professional consultation marketplace's technical infrastructure, implemented advanced search capabilities, and optimized performance while the platform continued serving active users and handling real-time video calls.

Infrastructure MigrationPerformance OptimizationSearch Architecture
Read case study
Designing and Launching an AI-Powered Marketing Assistant in 90 Days
Multiple

Designing and Launching an AI-Powered Marketing Assistant in 90 Days

How we designed and delivered a live demonstration of an AI-powered marketing assistant, showcasing AI capabilities to enhance marketing strategies through audience segmentation, campaign planning, and predictive analytics.

AI AssistantMarketing TechnologyRapid Prototyping
Read case study
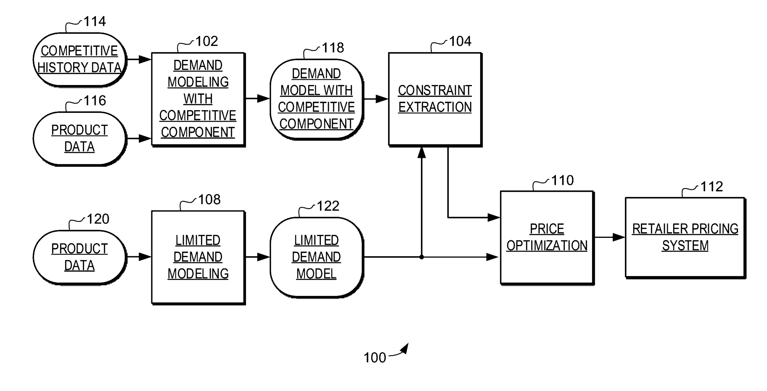
Revolutionizing Pricing Science to Save Client Retention
Pillar C

Revolutionizing Pricing Science to Save Client Retention

How we developed an innovative pricing science feature that restored client confidence, ensured contract renewal, and introduced a patentable product differentiator.

AI PricingData ScienceClient Retention
Read case study
Creating an Immersive AI Marketing Experience
Pillar C

Creating an Immersive AI Marketing Experience

How we designed and delivered a fully immersive, interactive AI demonstration that highlights marketing technology capabilities in Customer Experience Centers, setting a vision for future product innovation.

Immersive ExperienceGesture UIAI Demonstration
Read case study
Scaling Teams Through Data-Driven Decisions
Foundations

Scaling Teams Through Data-Driven Decisions

How we equipped research teams with robust data instrumentation and actionable insights, bridging qualitative research with behavioral data to optimize user experiences across cloud platforms.

UX ResearchData AnalyticsTeam Collaboration
Read case study
Turning Research into Strategy—Using Jobs-to-Be-Done
Foundations

Turning Research into Strategy—Using Jobs-to-Be-Done

How we implemented Jobs-to-be-Done methodology to uncover user needs and transform roadmap investments, resulting in significant improvements in user experience and task completion.

Jobs-to-be-DoneUX ResearchData Science
Read case study